Предложения по 66021411
BOM-Prestolite
66021411
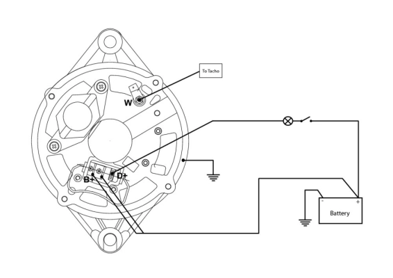
Генератор
BOM-Prestolite
Earth return · Grounded · Premium
Характеристики
Напряжение [В]
12 V
ток зарядки от генератора (А)
70 А
Техника присоединения
Earth return
Техника присоединения
Grounded
Количество ребер
1
Ø шкива [мм]
90 мм
Ременной шкив
0
Версия
Premium
OE номера (оригинальные)
FIAT
6173461
FORD
1569099
FORD
1571101
FORD
1595276
FORD
5003956
FORD
6173461
FORD
73EB10300GB
FORD
76BB10300GA
FORD
77FB10300GA
FORD
77FB10300GD
FORD
81AB10300AA
FORD
81AB10300UB
FORD
81AB10300YA
FORD
81DB10300AA
FORD
81DB10300BA
LEYLAND
A101
MASSEY FERGUSON
3538541M91
PERKINS
2871A124
PERKINS
2871A125
Аналоги
(100)
Применимость
(10)
Привезём под заказ
Этого товара сейчас нет в наличии, но мы можем привезти его для вас. Оставьте номер телефона и мы свяжемся с вами.
Срок доставки: 3-7 дней
Гарантия на все запчасти
Или позвоните: +373 XX XXX XXX